Login
資料をダウンロード

CKS Webは2005年にスタートした、中央光学出版が提供する国内特許検索システムです。特許調査業務で必要とされるほぼ全ての機能を標準価格の中でご提供しており、導入費用や一定の利用料を超えて発生する隠れたコストがなく、安心してお使いいただけます。

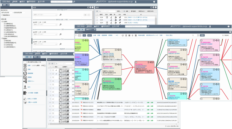
高度な検索システム

膨大な特許情報の中からすばやく必要な情報を探し出せるかが、特許検索システムにおける重要な課題です。CKS Web は昭和46年からの全文検索をはじめ、100種類以上の検索項目を備え、目的の特許情報を見つけるための機能を数多く揃えています。


図面内テキスト検索

図面記載のキーワードを検索できる図面内テキスト検索を搭載しています。図面データからOCRで切り出したキーワードを検索します。図面にしか存在しないキーワードを検索することができますので今までヒットしなかった案件が見つかるかもしれません。

※対象は表データのみです。

※データの精度はOCRの性能に依存します。


数値検索

数値限定の発明に有効な数値検索機能を搭載しています。全文を対象にキーワード・数値・単位の組み合わせで検索します。本文に数値範囲で記載されたものは、範囲内の値も検索対象となります。


パワフルな出力機能

Excel・CSV出力機能では、約270項目の中から必要な項目を選択できます。公報情報、経過情報、代表図、メモ情報のほか、ID・PWなしで閲覧できる公報PDFの参照URLなども出力できます。また、統計分析用の棒グラフ・ヒートマップ(Excel形式)の出力、Web画面上で設計可能なユーザ定義抄録のPDF出力など、パワフルな出力機能をご用意しております。

Excel PDF CSVに対応した出力機能

拡張メモ

他のIDと共有でき、編集権・閲覧権が制御可能な有償オプションです。拡張メモを使うことで、検索やスクリーニングを効率化できます。拡張メモは3つのタイプから選択でき、複数利用できます。

  1. キーワード選択型
  2. 階層型
  3. フリーテキスト型

※1・2は技術分類、製品分類、評価分類などのメモに利用できます。ユーザ側でテーブル定義を行い、入力・検索の際はテーブルから選択します。

※3は技術ポイントや注意点などを短い文章としてメモすることができます。

効率化に有効な拡張メモオプション

オリジナルの公報レイアウトPDF

特許庁の公報システム刷新に伴い、特許庁からPDF公報の提供がなくなりましたが、中央光学出版では従来の公報に類似したレイアウトで独自にPDFを作成し収録しています。また、公報発行日の翌日には収録しますので、タイムラグなく閲覧いただけます。

Excel PDF CSVに対応した出力機能

標準機能

標準機能は「Admin ID」で使用可能な機能です。

通常検索 / コマンドライン検索 / 簡易検索 / 番号検索 / 数値検索 / 図面内テキスト検索 / SDI(20テーマ※) / お気に入り(ウォッチング)登録(50件※) / メモ付与 / 簡易マップ作成 / 出力 / 既読機能 / 公報表示 / ユーザ定義抄録 / Espacenetリンク / Global Dossierリンク / 分割ツリー / 引用ツリー / 公報メール送信

※「Super Admin ID」の場合、SDIは200テーマ/お気に入り登録(ウォッチング)は30,000件となります。また、ユーザ管理機能がございます。


その他選択可能なオプション

国内知財訴訟検索

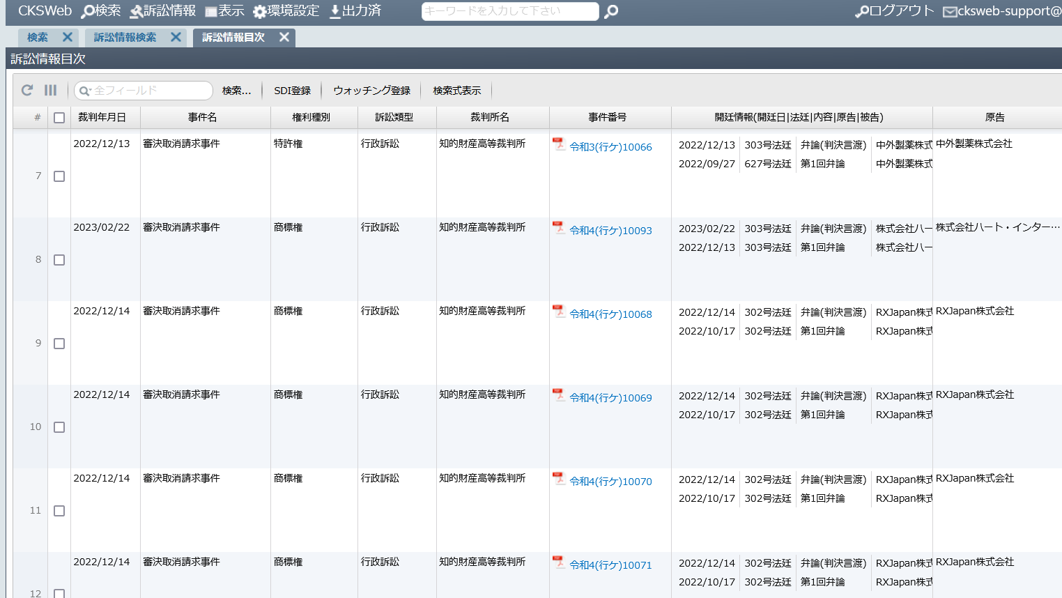
国内知財訴訟検索機能 Jiplit

国内の知財訴訟情報を検索いただけるオプションです。SDIやウォッチング機能も付いていますので、重要な訴訟情報を逃しません。

詳細はこちら

生成AIオプション

生成AIオプション

生成AIを活用することで、特許調査における検索・査読支援を行うCKSWebのオプションです。

詳細はこちら

AIクラスタリング機能

AIクラスタリング機能

AIに対して教師データを与えることで、SDI 配信結果を推奨査読順に並び替えるオプションです。スクリーニング作業の効率化を図ります。


推奨環境

画面サイズ
1920×1080(推奨)
色数
High Color
ブラウザ
  • Google Chrome(最新版)
  • Mozilla Firefox(最新版)
  • Microsoft Edge(最新版)

国内知財訴訟検索

Jiplit®(ジプリ)は、日本国内の知財訴訟情報を検索いただけるCKS Webのオプションです。判決に至った案件だけでなく、判決に至らなかった案件や現在係争中の案件も検索いただけます。また、SDIやウォッチング機能も付いていますので、重要な訴訟情報を逃しません。


収録データ

日本各地の裁判所で判決に至った知的財産に関する判例情報はもちろん、知財高裁・東京地裁・大阪地裁で日々開廷される訴訟情報も収録しております。判決に至らなかった案件や現在係争中の案件も、様々な検索項目で検索いただけます。

収録データ

訴訟情報のウォッチング

日々開廷される訴訟案件をウォッチング登録することで、登録した訴訟案件に変化(例:昨日開廷された)があれば、メールでお知らせいたします。

訴訟情報のウォッチング1
訴訟情報のウォッチング2

訴訟情報のSDI配信

IPC分類や当事者名の検索式をSDI登録しておくことで、IPCに該当する特許が対象となった訴訟案件や、当事者となった訴訟案件をメールでお知らせいたします。

※訴訟の対象となった特許等に関しましては、開廷後、裁判記録の閲覧を行い情報を入手いたしますが、閲覧制限等により、情報を入手するまでにタイムラグがございます。

訴訟情報のSDI配信

裁判記録の確認・報告サービス

Jiplitで見つけた気になる訴訟の詳細を知りたい場合、当社が裁判所に赴き、裁判記録を閲覧して知りたい情報の確認・ご報告を行います。(対象:知財高裁・東京地裁・大阪地裁)

裁判記録の閲覧可否状況の確認等も、弊社が代理で行いますのでご相談ください。

生成AIオプション

生成AIを活用することで、特許調査における検索・査読支援を行うCKSWebのオプションです。 検索時における類義語や特許分類のご提案を行ない、検索式の作成を支援いたします。また、読みやすく分かりやすい特許要約をご提供することで査読の効率化を図ります。


特許分類の照会機能

特許調査に慣れていない人や新しい技術分野を検索する場合、検索式作成に利用する特許分類の選定が難しいという課題がありました。CKS Webの生成AIを使用した特許分類の照会機能では、キーワードや文章から簡単に特許分類を探すことができます。

特許分類の照会機能<

類義語の照会機能

特許調査において目的の特許をヒットさせるためには、考えうる類義語を検索式に含む必要がありますが、単純な類義語では異なる技術分野の言葉が混じってしまうこともあり、最適な類義語を探すのは容易ではない課題がありました。CKS Webの生成AIを使用した類義語の照会機能では、文章での照会や、キーワードに特許分類を掛け合わせて技術分野を絞った類義語を探すことができます。

類義語の照会機能1
類義語の照会機能2

わかりやすい要約作成機能

特許公報は法的文書の側面もあるため読みづらく、SDI配信の未読や、査読効率の低下という課題がありました。CKS Webの生成AIを使用したわかりやすい要約を使うことで、読みづらさを軽減し、ノイズ判別・査読効率の向上をお手伝いします。

わかりやすい要約作成機能
CKS Web概要へ戻る